Ротационное выдавливание (давильные и раскатные процессы)
В некоторых случаях холодноштамповочные операции сочетаются с давильными или накатными операциями, выполняемыми на специальных станках при вращательном движении заготовки (детали), а иногда и деформирующего инструмента.
К числу таких операций относятся:
- давильные работы, выполняемые на давильных станках;
- давильно-раскатные процессы, выполняемые на раскатных станках (ротационное выдавливание);
- отбортовочные, фланцезагибочные и кромкообрезные работы, выполняемые на специальных вертикальных двухшпиндельиых отбортовочных станках или специальных автоматах.
Давильные работы применяются в мелкосерийном производстве, когда изготовление вытяжных штампов экономически невыгодно и длительно, а также при изготовлении пустотелых деталей выпукло-вогнутой конфигурации и т.п.
На давильных станках выполняют следующие операции: выдавливание пустотелых деталей, являющихся телами вращения; проглаживание поверхностей деталей после ступенчатой вытяжки конических деталей; выдавливание узких горловин на цилиндрических заготовках, обрезка и завивка кромок и т.д.
Экспериментально установленная частота вращения шпинделя давильных станков приведена в табл. 132.
Таблица 132. Частота вращения шпинделя давильных станков.
| Металл | Частота вращения шпинделя, об/мин |
| Мягкая сталь Алюминий Дуралюмин Медь Латунь | 400-600 800-1200 500-900 600-800 800-1100 |
Примечание.Меньшие значения применяются для металлов толщиной более 1 мм.
Поверхность выдавленных деталей обычно носит следы давильника и соответствует 6-7-му классу шероховатости поверхности. Для получения более гладкой поверхности по окончании выдавливания особым давильником производят проглаживание наружной поверхности или шабером снимают тонкую стружку (0,02-0,05 мм). Точность выдавленных деталей обычно находится в пределах 0,001-0,002 их диаметра.
Процесс выдавливания на давильных станках более сложен и менее изучен, чем Другие процессы обработки металлов давлением. При выдавливании неглубоких деталей с небольшим отношением D/d процесс выдавливания может быть выполнен непрерывным поворотом давильника и движением его конца от прижима вдоль образующей патрона (оправки).
При изготовлении глубоких деталей с большим отношением D/d выдавливание производится возвратно-поступательным движением давильника на отдельных участках заготовки. Для предотвращения образования складок с противоположной (внутренней) стороны заготовки вводят деревянный или металлический противоупор или производят разглаживание конического фланца двумя давильниками, помещенными с обеих сторон заготовки.
Выдавливание конических деталей возможно осуществить при предельном отношении:
, где dmin - наименьший диаметр конуса.
Выдавливание цилиндрических деталей обычно производят при отношении: d/D = 0,6/0,8 в зависимости от относительной толщины заготовки. Меньшие значения относятся к толщине заготовки (S/d) 100 = 2,5, а большие - к толщине (S/d) 100 = 0,5 (где d - диаметр детали)/
Если требуемая деталь не может быть выдавлена в одну операцию, выдавливание производят за несколько последовательных операций на разных оправках, но при одном и том же наименьшем диаметре оправки (рис. 232).
![]() Рис. 232 Выдавливание за несколько последовательных операций (коэффициент вытяжки по наибольшему диаметру m1 = 0,67; m2 = 0,75; m3 = 0,77) |
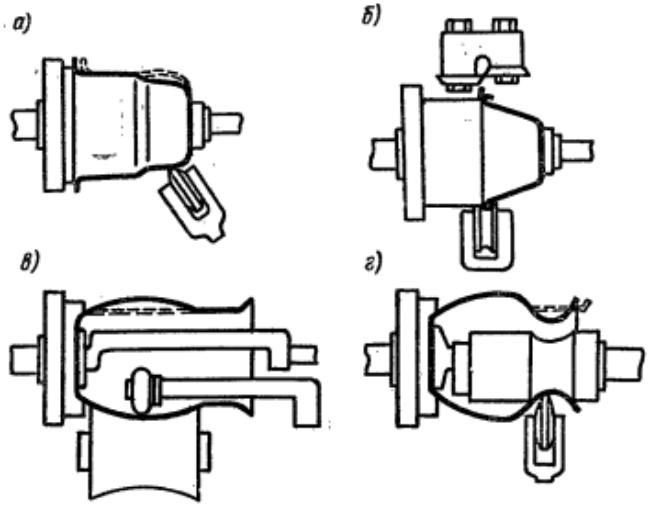
При выдавливании на давильных станках металл детали значительно сильнее утоняется и наклепывается, чем при вытяжке на прессах, поэтому детали, вылавливаемые за несколько операций, обычно подвергают промежуточному отжигу. На рис. 233 приведены различные типы давильных работ.

Рис. 233 Различные виды давильных работ:
а - выдавливание по патрону дисковым роликом; б - обрезка фланца и закатка кромок;
в - выпуклое выдавливание изнутри по наружному ролику; г - вогнутое выдавливание горловины
Наряду с простотой оснастки, универсальностью давильного инструмента и оборудования, процесс выдавливания характеризуется невысокой производительностью и требует большого опыта и затраты больших физических усилий от рабочего. Поэтому весьма актуальны работы по автоматизации давильных процессов. В настоящее время оформились два направления автоматизации.
Первое направление заключается в использовании для выдавливания токарных гидро копировальных полуавтоматов 1722 и других, копировальная система которых обеспечивает перемещение давильного ролика по заданной траектории [81].

Рис. 234 Схема выдавливания конусной детали на полуавтомате
На рис. 234 показана схема выдавливания конусной детали на токарном полуавтомате. В данном случае зазор между давильной оправкой и роликом равен толщине заготовки. При этом способе отсутствуют меры, направленные на предотвращение потери устойчивости фланца и образования складок, осуществимая степень деформации здесь не велика: для цилиндрических деталей m1 = 0,7 / 0,8, а на последующих операциях mn = 0,78 / 0,9. Поэтому при изготовлении глубоких деталей из тонкого материала при этом способе выдавливания требуется многооперационный процесс и несколько сменных патронов.
Второе направление автоматизации заключается в создании давильных автоматов, в которых выполняется целый ряд переходов, необходимых для выдавливания глубоких деталей на вращающейся оправке (рис. 235).
![]() Рис. 235 Схема автоматизированного выдавливания тонколистовой заготовки на полуавтомате |
Процесс выдавливания состоит из сочетания начальных (A), промежуточных (В) и конечных переходов (С). В начальных переходах производится закругление кромки фланца для повышения его устойчивости на последующих переходах. Полуавтомат выполняет два вида промежуточных переходов: нечетные с движением ролика к фланцу, и четные - с движением к оправке. В нечетные переходы увеличивается угол αи уменьшается диаметр фланца; в четные переходы уменьшается ширина фланца за счет посадки его на оправку. На конечных переходах производится проглаживание поверхности детали давильником и подготовка края фланца к завивке или к обрезке. Этот способ позволяет получить весьма глубокие детали из тонколистового металла за одну установку.
Более совершенные давильные автоматы снабжены системой числового програм много управления (фирмы «Ляйфельд», ФРГ).
Сравнительно недавно создан новый способ ротационного выдавливания или выдавливания с раскаткой роликами крупных полых деталей цилиндрической, конической, параболической и других форм из толстой плоской заготовки.
Ротационное выдавливание - раскатка производится в холодном состоянии на специальных мощных раскатных станках с гидравлическим приводом перемещения роликов вдоль образующей. Сущность этого способа заключается в раскатке роликами толстой заготовки по вращающейся стальной оправке без деформации фланца заготовки при неизменной величине ее диаметра. Это возможно при условии раскатки и утонения металла до строго заданной толщины детали, зависящей от угла конуса S = S0 sin α. Так, для конических деталей с углом при вершине 2а = 30° толщина стенки должна составлять S = 0,26S0.

Рис. 236 Схемы ротационного выдавливания конусов
На рис. 236, а приведен способ раскатки конической оболочки с одинаковой толщиной стенок конуса. В этом случае заготовка по всему диаметру берется одинаковой толщины S0 = S/sin α. Площади залитых участков равны.
На рис. 236, б показана схема раскатки конических оболочек переменной толщины. В данном случае заготовка должна быть переменной толщины S0пер, определяемой по той же формуле, но при переменной величине, Sпер. В последнем случае необходимо подсчитать толщину заготовки для ряда точек по радиусу.
В положении II показаны эпюры переменного сечения заготовки: в верхней части для конической оболочки с утоненной вершиной, а в нижней части - с утолщенной вершиной конуса. Но так как такие сечения заготовки весьма трудно деформировать раскаткой роликами, то в положении l показаны технологичные формы заготовок равновеликого сечения (по горизонтали), предварительно подготовленные выдавливанием или штамповкой.
На рис. 236, в приведена схема процесса „Юнискен» ротационного выдавливания конусов нз плоской заготовки без конической оправки. Здесь плоская заготовка закрепляется на вращающемся плоском диске. Обкатной ролик перемещается от центра к периферии заготовки и производит раскатку с утонением и увеличением поверхности металла, который выдавливается к центру заготовки, отделяется от диска и образует деталь конической формы.

Рис. 237 Схемы ротационного выдавливания полых деталей различных конфигураций
На рис. 237 приведены схемы ротационного выдавливания полых деталей других конфигураций.
На рис. 237, а показана схема раскатки полусферической детали принципом деформирования металла заготовки. При неизменном диаметре фланца деталь получит разную толщину в разных сечениях в зависимости от угла α, определяющего данное сечение.
Для того чтобы получить одинаковую толщину стенок детали, необходимо рассчитать и применить заготовку переменной толщины, как показано на рис. 237, б.
В ряде случаев, особенно при раскатке глубоких параболических оболочек, плоская форма заготовки неудобна как для изготовления, так и для деформирования. В этом случае применяют заготовку, полученную предварительной штамповкой или обычным выдавливанием, как показано на рис. 237, в. На рис. 237, г приведена схема раскатки глубокой цилиндрической детали из предварительно отштампованного стаканчика. При этом высота раскатанной детали h1= h0 (S0/S1).
Допустимая степень деформации (обжатия) при изготовлении раскаткой конусов из малоуглеродистой и нержавеющей стали не должна превышать 70-75%, а при изготовлении тем же способом полушарий - 50%. Однако на практике предпочитают применять при изготовлении конусов степень деформации в 50%. Вследствие этого изготовление конусов с малым углом осуществляют за две oпeрации на оправках с различной конусностью.
Синусоидальная зависимость применима и при выдавливании раскаткой роликами полусферической детали постоянной толщины. В данном случае полусферу можно представить как совокупность большого количества конических элементов, у которых угол конусности определяется углом наклона касательной к каждой точке сферической поверхности. При этом угол наклона непрерывно увеличивается по мере приближения точки касания к оси детали.

Рис. 238 Способ и пример расчета сечения заготовки для изготовления сферической оболочки
Следовательно, заготовка должна иметь плавно изменяющуюся толщину, которую можно вычислить и построить по достаточно большому количеству точек, координируемых углом наклона радиуса и касательной а и проекцией точки касания на диаметр основания полусферы (рис. 238) [107].
При раскатке сферических оболочек неизменной толщины подсчеты сводятся к вычислению для большого количества точек значений:
Для упрощения вычислительных работ значения коэффициента х подсчитаны с высокой точностью при изменении угла а от 0 до 90° с интервалом 10°. В табл. 133 приведены значения х для углов а, взятых с большим интервалом (для 30 точек по радиусу).
Таблица 133. Значение коэффициента x=1/sin α для расчета переменной толщины заготовки при раскатке сферических оболочек
| Угол α, ...0 | Значение x | Угол α, ...0 | Значение x | Угол α, ..0 | Значение х |
| 5 | 11,468 | 30 | 2,000 | 55 | 1,220 |
| 8 | 7,184 | 32 | 1,887 | 57 | 1,192 |
| 10 | 5,760 | 35 | 1,174 | 60 | 1,155 |
| 12 | 4,810 | 37 | 1,661 | 70 | 1,103 |
| 15 | 3,864 | 40 | 1,556 | 75 | 1,064 |
| 17 | 3,420 | 42 | 1,494 | 80 | 1,035 |
| 20 | 2,924 | 45 | 1,414 | 80 | 1,015 |
| 22 | 2,669 | 48 | 1,356 | 85 | 1,004 |
| 25 | 2,366 | 50 | 1,305 | 89 | 1,0006 |
| 27 | 2,203 | 52 | 1,269 | 90 | 1,000 |
На рис. 238 приведен пример расчета и построения заготовки переменной толщины для изготовления сферической оболочки диаметром 1500 мм, толщиной 4 мм. На этом рисунке показано всеголишь несколько сечеиий, определяемых углами в 15, 30, 45, 60 и 75° (вспомогательная таблица позволяет найти свыше 1000 сечений по диаметру заготовки). Расчетная толщина заготовки для углов в 30° получается весьма большой и технологически не деформируемой.
В результате плавного изменения толщины заготовки степень обжатия в разных точках заготовки будет различной. Однако не рекомендуется применять обжатие больше 50%. Следовательно, наибольшая толщина заготовки для данного примера должна быть S0 = S/0,5 = 8 мм.
Это обжатие соответствует точке окружности, радиус которой наклонен к горизонтали под углом α= 30°.
Для раскатки периферийной части полусферы (с соблюдением правила синусов) необходимо отогнуть фланец обработанной заготовки, как это показано на рис. 238, справа с тем, чтобы этот изгиб давал равновеликие сечения в точках, находящихся между углом 30° и горизонталью, и обеспечивал достаточный объем металла для образования периферийной части полусферы.
Автором предложен метод расчета заготовок для параболических оболочек постоянной толщины [112]. Переменная толщина заготовки параболической оболочки находится по формуле:
, где р - фокусное расстояние от начала координат (вместо р/2).
Задаваясь различными отношениями х/р (0,01; 0,02; 0,03 и т.д. до 11,0), на счетно-вычислительной машине для 200 точек подсчитаны соответствующие значения коэффициентов К.
Ординаты точек параболы могут быть определены теми же параметрами и подсчитаны по формуле:
Значения коэффициентов С также подсчитаны на счетно-вычислительной машине и приведены во вспомогательной таблице. В табл. 134 приведены значения коэффициентов К и С для меньшего количества точек.
Таблица 134. Значения коэффициентов К и С для расчета переменной толщины заготовки при раскатке параболических оболочек
| Отношение х/р | Коэффициенты | Отношение х/р | Коэффициенты | Отношение х/р | Коэффициенты | |||
| к | с | к | с | к | с | |||
| 0,02 | 1,0100 | 0,1414 | 0,80 | 1,3416 | 0,8944 | 4,0 | 2,2361 | 2,0000 |
| 0,05 | 1,0247 | 0,2236 | 0,85 | 1,3601 | 0,9220 | 4,5 | 2,3452 | 2,1213 |
| 0,10 | 1,0488 | 0,3162 | 0,90 | 1,3784 | 0,9487 | 5,0 | 2,4495 | 2,2360 |
| 0,15 | 1,0724 | 0,3873 | 0,95 | 1,3964 | 0,9747 | 5,5 | 2,5494 | 2,3452 |
| 0,20 | 1,0954 | 0,4472 | 1,00 | 1,4142 | 1,0000 | 6,0 | 2,6457 | 2,4495 |
| 0,25 | 1,1180 | 0,5000 | 1,20 | 1,4832 | 1,0954 | 6,5 | 2,7386 | 2,5496 |
| 0,30 | 1,1402 | 0,5477 | 1,50 | 1,5811 | 1,2247 | 7,0 | 2,8284 | 2,6457 |
| 0,35 | 1,1619 | 0,5916 | 1,80 | 1,6733 | 1,3416 | 7,5 | 2,9155 | 2,7386 |
| 0,40 | 1,1832 | 0,6324 | 2,00 | 1,7320 | 1,4142 | 8,0 | 3,0000 | 2,8284 |
| 0,45 | 1,2041 | 0,6708 | 2,20 | 1,7888 | 1,4832 | 8,5 | 3,0822 | 2,9155 |
| 0,50 | 1,2247 | 0,7071 | 2,50 | 1,8708 | 1,5811 | 9,0 | 3,1623 | 3,0000 |
| 0,55- | 1,2450 | 0,7416 | 2,80 | 1,9494 | 1,6733 | 9,5 | 3,2404 | 3,0822 |
| 0,60 | 1,2619 | 0,7746 | 3,00 | 2,0000 | 1,7320 | 10,0 | 3,3166 | 3,1623 |
| 0,65 | 1,2845 | 0,8062 | 3,30 | 2,0736 | 1,8166 | 10,5 | 3,3912 | 3,2404 |
| 0,70 | 1,3038 | 0,8366 | 3,50 | 2,1213 | 1,8708 | 11,0 | 3,4641 | 3,3166 |
| 0,75 | 1,3229 | 0,8660 | 3,80 | 2,1909 | 1,9494 | 16,0 | 4,1231 | 4,0000 |
![]() Рис. 239 Способ и пример расчета сечения заготовки для параболической оболочки |
На рис. 239 приведен пример построения заготовки переменного сечения для параболической оболочки Æ 2000 мм, высотой 1000 мм, толщиной 20 мм, используя предложенный метод расчета и коэффициенты, приведенные во вспомогательной таблице. На рис. 239 приведено только шесть сечений заготовки (для х/р - 0,4 0,5; 1,0; 2,0; 3,0; 4,0) из 50 точек по табл. 134.
Заготовке для параболических оболочек также может быть придана форма с предварительно отогнутыми бортами.
Ротационное выдавливание (раскатка) выполняется на специальных раскатных станках с гидравлическим перемещением роликов вдоль образующей. Для раскатки небольших деталей применяются станки с горизонтальным, а для крупных деталей - с вертикальным шпинделем. Способ раскатки применяется также для изготовления тонкостенных холоднокатаных труб.
Работа раскатных станков обычно происходит при следующем режиме:
| Давление ,кгс/см2 | 250 - 280 |
| Наибольшая толщина материала,мм | 20 |
| Наименьший угол конуса для нержавеющей стали 2а, град | 30 |
| Наибольшая скорость , м/мин | 300 |
| Подача, мм/об | От 0,012 до 2,0 |
| Смазка | Суспензия коллоидного цинка или фосфатирование заготовки |
| Охлаждение роликов | Водяное |
В процессе раскатки конических, параболических и других деталей ролик перемещается к основанию детали, а радиус окружности непрерывно возрастает, следовательно, увеличивается и дуга контакта с роликом. Вследствие этого при движении ролика от центра к окружности заготовки усилие раскатки увеличивается.
Способом раскатки изготовляют различные головки, колпаки, обтекатели и другие детали газовых турбин реактивных самолетов, ракет и т.п. из дуралюмина, нержавеющей стали и жаропрочных сплавов.
Выдавливание раскаткой роликами позволило упростить технологию изготовления крупных деталей указанной формы и получить большую экономию дорогих нержавеющих и жаропрочных сплавов.
![]() Рис. 240 Раскатная шариковая головка для раскатки тонкостенных деталей малого диаметра |
Способ раскатки получил применение также для изготовления весьма тонкостенных деталей малого диаметра (2-3 мм) из Нержавеющей стали 08Х18Н10, а также из молибденовых сплавов ЦМ-2А [60].
Рабочим инструментом является регулируемая шариковая раскатная головка (рис. 240). Раскатка выполняется по закаленной хромированной оправке за несколько проходов (обжатий) до получения стенки толщиной 0,1 ± 0,01 мм. Глубина обжатия за один проход составляет 0,08 мм. Раскатка производится на обыкновенных токарных станках, позволяющих получить осевую подачу 0,02 мм/об при n= 1800 об/мин.
Способ раскатки шариками применяется также при изготовлении тонкостенных трубок для сильфонов и других деталей.
В Тюменском индустриальном институте1 создан новый оригинальный способ утонения стенок трубчатых деталей различного поперечного сечения (круг, эллипс, квадрат, прямоугольник и др.). Этот способ позволяет получить более высокие степени утонения по сравнению с вытяжкой и протяжкой, раскаткой шариками или роликами на оправке [72]. Кстати раскатка шариками или роликами на оправке квадратных или прямоугольных труб вряд ли осуществима.
![]() Рис. 241 Способ утонения трубчатых деталей качающейся матрицей |
Сущность нового способа утонения заключается в создании особого взаимного движения оправки и охватывающей ее матрицы. Это взаимное движение осуществляется несколькими способами. Наиболее простой способ - синхронное вращение оправки с заготовкой и матрицы, причем ось вращения матрицы наклонена под некоторым углом к оси пуансона-оправки, как показано на рис. 241. Оправке с заготовкой придается одновременно поступательное движение подачи.
При малых подачах по линии АВ возникает пятно контакта заготовки с матрицей. Усилия, действующие на заготовку, смещают пуансон в направлении точки С, где также возникает контакт с матричным отверстием. Так как матрица наклонена под углом а к оси оправки, то она будет совершать качательное движение вдоль оси, а оправка с заготовкой при этом будет постепенно опускаться вниз (проходить в отверстие матрицы). В результате указанных взаимных движений происходит утонение заготовки. Форма оправки и соответствующего ему отверстия матрицы принципиального значения не имеют (например прямоугольник с соотношением сторон 2-2,5).
![]() Рис. 242 Схема взаимодействия качающейся матрицы с заготовкой круглого сечения |
На рис. 242 показана рабочая схема взаимодействия качающейся матрицы с заготовкой круглого сечения.
Таким образом, качающаяся матрица, при одновременном вращении с оправкой и заготовкой производит попеременное двойное утонение заготовки (правое и левое пятно контакта взаимно меняются местами).
В качестве оборудования применены токарные и вертикально-сверлильные станки (до 3000 об/мин). Шероховатость поверхности зависит от величины подачи и радиуса. Наибольшее значение 7-8-й классы по ГОСТ 2879-73, угол наклона матрицы составляет 2-4°, угол раскрытия матрицы 2γ = 16 / 20°.
При малой подаче (~ 0,1 мм) осуществимо пятикратное утонение толщины стенки заготовки за один проход.
Теми же авторами освоен способ утонения тонкостенных трубок двухъярусной качающейся матрицей, при пуансоне-оправке, совершающем лишь относительное вертикальное перемещение. Производственно-технологический эффект удваивается.
Рассмотренный способ утонении стенок трубчатых деталей позволяет упростить технологический процесс.
Наибольший эффект получается при изготовлении весьма тонкостенных деталей большой длины. Затраты на изготовление раскатной головки ничтожны.






