Процесс вытяжки листовых металлов
Вытяжка представляет собой процесс превращения плоской заготовки в полую деталь любой формы (или дальнейшее изменение ее размеров) и производится на вытяжных штампах.

Рис. 79. Последовательность перемещения металла в процессе вытяжки
На рис. 79 приведена схема вытяжки цилиндрической детали из плоской заготовки и последовательность перемещения металла в процессе вытяжки. Последнее характеризуется уменьшением наружного диаметра фланца и перемещением элементов заготовки (1 - 5) по мере увеличения глубины вытяжки.
При вытяжке кольцевая часть заготовки (D - d) превращается в цилиндр диаметром d и высотой h. Так как объем металла при вытяжке не изменяется, то при полной вытяжке цилиндра высота детали h больше ширины кольцевой части b и составляет
где k = D/d - степень вытяжки. При k = 2, h = 1,5b.
Следовательно, вытяжка происходит за счет пластической деформации, сопровождаемой смещением значительного объема металла в высоту. При большой степени деформации, что соответствует глубокой вытяжке, и при небольшой толщине материала смещенный объем является причиной образования гофров (волн) на деформируемой заготовке. При малой степени деформации и при относительно большой толщине материала гофрообразования не происходит, так как в этом случае смещенный объем металла невелик, а заготовка устойчива.
Для предотвращения образования гофров и складок при вытяжке применяется прижим заготовки складкодержателем.
Вытяжкой изготовляется большое количество полых деталей самой разнообразной формы, отличающихся друг от друга как очертанием в плане, так и формой боковых стенок.
По геометрической форме все полые детали могут быть разделены на три группы:
- осесимметричной формы (тела вращения);
- коробчатой формы;
- сложной несимметричной формы.
Каждая из групп подразделяется на несколько разновидностей. Например, тела вращения по форме образующей могут быть цилиндрическими, коническими, криволинейными, ступенчатыми, выпукло-вогнутыми. Построение технологического процесса и технологические расчеты для них различны.
Установлено, что процесс глубокой вытяжки с прижимом начинается не с пластической деформации фланца заготовки, а с предшествующей ей начальной стадии процесса, заключающейся в местной пластической деформации кольцевой не зажатой части заготовки [117].
![]() Рис. 80. Последовательность процесса глубокой вытяжки с прижимом заготовки |
На рис. 80 приведена последовательность процесса глубокой вытяжки с прижимом заготовки: на верхних схемах показана начальная стадия процесса вытяжки, состоящая из локальной пластической деформации свободного кольцевого участка а при зажатом фланце, сохраняющем свои начальные размеры DФ = D0. Эта стадия вытяжки осуществляется за счет растяжения и утонения кольцевого участка, причем наибольшее утонение возникает на границе этого участка с плоским дном.
По мере погружения пуансона тянущее усилие возрастает, а растяжение и утонение свободного участка заготовки увеличиваются. К концу этой стадии происходит пластическая деформация донной части заготовки. После достижения равновесия между тянущими усилием и сопротивлением фланца деформированию начинается вторая стадия процесса вытяжки, заключающаяся в пластической деформации фланца и втягивании его в матрицу (см. схемы II на рис. 80). Таким образом, процесс глубокой вытяжки с прижимом состоит из двух технологически различных стадий: начальной и завершающей. При вытяжке без прижима с малой степенью деформации начальная стадия практически отсутствует.
В начальной стадии процесса глубокой вытяжки возникает значительное утонение свободного участка, которое в процессе дальнейшей деформации превращается в опасное сечение.
Во второй стадии вытяжки имеет место сложная пластическая деформация, в процессе которой элемент плоской заготовки I (рис. 81, а) изменяет свои размеры (удлиняется в радиальном и укорачивается в тангенциальном направлении) и занимает положение //, а затем подвергается изгибу и превращается в элемент боковой поверхности полого изделия.

Рис. 81. Деформация элемента фланца (а) и схема образования гофров (б) при вытяжке
Условие пластичности деформируемого фланца, определяющее момент перехода его в пластичное состояние, выражается уравнением (с учетом знаков напряжений) σ r + σ t = 1,15σ\f2 t.
Вначале для элемента заготовки I, находящегося вблизи наружного края фланца (рис. 81, а), наибольшей является деформация тангенциального сжатия, средней - деформация удлинения в радиальном направлении, а наименьшей - утолщение металла.
В результате деформации тангенциального сжатия при вытяжке тонкого материала легко возникает потеря устойчивости фланца, благодаря чему на нем образуются гофры. В толстом материале, при тех же размерах заготовки и изделия, возникновение гофров затруднено благодаря большей устойчивости фланца заготовки.
При перемещении элемента к вытяжному ребру матрицы наибольшей становится деформация рациального удлинения, так как тангенциальное сжатие постепенно уменьшается. При переходе элемента через вытяжное ребро матрицы эта деформация элемента усложняется появлением дополнительной деформации пространственного изгиба. После этого элемент заготовки переходит в криволинейно-вертикальную стенку и претерпевает небольшое осевое удлинение вдоль образующей, при утонении материала.
Дно изделия подвергается небольшому плоскому удлинению (1-3%) и утонению (2-5%), которыми в большинстве случаев практически можно пренебречь.
Произведенные опыты показывают, что деформация цилиндрических стенок в зазоре и у донного закругления продолжается на протяжении всего рабочего хода и сопровождается непрерывным уменьшением толщины материала.
На рис. 81, бприведена схема образования гофров (волн) по краю вытягиваемого фланца.
Под действием напряжений тангенциального сжатия происходит потеря устойчивости фланца заготовки и образование волнообразного гофра (l1, этап 1). В результате ударного приложения нагрузки к заготовке возникший гофр упруго деформирует складкодержатель и его крепление и увеличивает зазор между ним и матрицей. Дальнейшее действие тангенциального сжатия усиливается вследствие непрерывного уменьшения наружного диаметра заготовки при вытяжке. Это приводит к сплющиванию гофрированной волны (этап 2), а затем к потере устойчивости плоской части гофра, которая прогибается в обратную сторону (этап 3). В результате образуется более мелкий гофр, в котором вместо одной возникли три волны длиной l2 (этап 4).
Процесс гофрообразования продолжается скачкообразно и дальше до тех пор, пока не образуется вполне устойчивый мелкий гофр. В зависимости от различной степени устойчивости фланца заготовки, харакгеризуемой отношением S/d, а также от различной степени деформации К = D/d первоначально возникает различное количество волн по окружности.
При достаточно большой относительной толщине заготовки гофрирования не происходит, так как фланец не теряет устойчивости в процессе вытяжки.
Наиболее опасным местом детали является зона перехода от дна к стенкам вследствие возникшего здесь в начальной стадии вытяжки значительного утонения материала и больших растягивающих напряжений.
При большой степени деформации или в случае образования складок на заготовке растягивающие напряжения в опасном сечении превышают его прочность и приводят к отрыву дна. Условие прочности опасного сечения определяет возможную степень деформации при вытяжке и выражается зависимостью:
для сталей 08-10 σmax ≤ 1,2σв; для стали 12X18H9 σmax ≤ 1,4σв.
Здесь σmах - максимальное напряжение в опасном сечении; σр - истинное сопротивление разрыву.
Основное направление рационального построения или улучшения процесса вытяжки заключается в создании наиболее благоприятных условий деформирования металла с целью снижения растягивающих напряжений в опасном сечении:
- уменьшении напряжений в начальной стадии вытяжки;
- уменьшении сопротивления плоского фланца деформированию;
- повышении прочности металла в опасном сечении;
- снижении тангенциальных напряжений сжатия в деформируемом фланце или повышении его устойчивости с целью предотвращения образования складок.
В результате выполнения указанных условий достигают увеличения глубины вытяжки за одну операцию, уменьшения количества операций, улучшения процесса вытяжки деталей сложной формы. Необходимо указать, что при разных способах вытяжки не все из указанных выше условий будут одинаково благоприятны.
В технологическом отношении способы вытяжки необходимо различать главным образом по виду напряженного состояния деформируемой части заготовки. Геометрическая форма детали является в этом отношении вторичным признаком.
Следует различать три основных способа вытяжки.
1. Вытяжка полых деталей путем превращения плоского фланца в цилиндрическую или коробчатую форму, при создании во фланце плоского напряженного состояния по схеме сжатие-растяжение (рис. 81). Сюда относится вытяжка цилиндрических, овальных, коробчатых и других деталей с вертикальными или слегка наклонными стенками.
2. Вытяжка сферических, криволинейных и сложной формы деталей в штампах с вытяжными (тормозными) ребрами. В этом случае под прижимом преобладают растягивающие напряжения и деформации, а в остальной деформируемой части заготовки возникает напряженное состояние двустороннего растяжения.
3. Вытяжка эластичной матрицей и фрикционная вытяжка, создающие заталкивание заготовки, в результате чего снижаются растягивающие напряжения в очаге деформации и облегчается процесс вытяжки.
В первом способе вытяжки наиболее благоприятные условия деформирования заключаются в максимально возможном уменьшении сопротивления плоского фланца деформированию. Это достигается путем применения металла пониженной прочности, отжигом заготовки, нагревом фланца, вытяжкой без прижима, эффективной смазкой. В результате снижаются растягивающие напряжения в опасном сечении, улучшается условие прочности этого сечения и становится возможной более глубокая вытяжка.
Во втором способе вытяжки в штампах с вытяжными ребрами значительная часть заготовки вначале находится вне контакта с рабочими частями штампа и легко образует гофры и морщины. Для их предотвращения приходится создавать повышенные радиальные растягивающие напряжения и искусственно увеличивать сопротивление деформируемого металла путем перетягивания его через вытяжные (тормозные) ребра. При этом значительно возрастают растягивающие напряжения в опасном сечении и ухудшается условие его прочности. Для того чтобы в данном случае создать благоприятные условия деформировании и избежать разрыва, надо обеспечить условие прочности опасного сечения. Это возможно лишь при применении металла повышенной прочности и упрочняемости при достаточно высокой пластичности (вязкости)....
Автором исследован и предложен способ вытяжки из закаленных и отпущенных тонколистовых заготовок малоуглеродистой стали, давший положительные результаты [-109]. Отжиг или нагрев заготовок с целью увеличения пластичности в данном случае недопустим, так как приводит к понижению их прочности и преждевременному разрыву.
Третий способ вытяжки обладает наиболее благоприятными условиями деформирования, потому что в этом случае прочность опасного сечения позволяет получить значительную степень деформации.
Следовательно, для рассмотренных способов вытяжки необходимо выбирать металл с различными механическими свойствами или в различном состоянии: в первом способе вытяжки - повышенной пластичности при пониженной прочности (стали 08-10 в отожженном или нормализованном состоянии с дрессировкой); во втором способе вытяжки - повышенной прочности при достаточно высокой пластичности и вязкости (стали 08-10 после специальной обработки, нержавеющая сталь 12Х18Н9Т); в третьем способе применим металл без повышенных механических свойств.

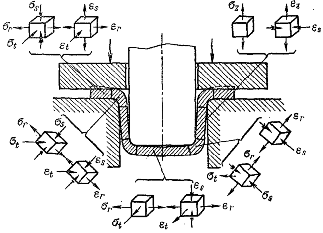
Рис. 82. Схемы напряжений и деформаций при вытяжке (σ - напряжения, ε - деформации; индексы у σ и ε означают: r - радиальные; t - тангенциальные: s - осевые)
На рис. 82 приведены схемы напряженно-деформированного состояния в разных участках изделия при обычной вытяжке с прижимом (складкодержателем).
Для наглядного представления о характере деформации и возможности определения ее величины на отдельных участках применяют метод нанесения на заготовку прямоугольной или радиально-кольцевой координатной сетки, а затем изучают ее искажение при вытяжке. Измерения искаженной сетки показывают, что в первой операции вытяжки деформация тангенциального сжатия превосходит деформацию радиального растяжения.
При вытяжке происходит изменение толщины стенок деталей. В случае вытяжки цилиндрических деталей без фланца наибольшее утонение составляет 10-18%, а утолщение у края 20-30% от толщины материала. Толщина материала в месте перехода от дна к стенкам уменьшается с увеличением степени деформации, относительной толщины заготовки S/D, пластичности металла, количества операций вытяжки и с уменьшением радиусов закругления пуансона и матрицы.
Приблизительная толщина края определяется из следующих зависимостей:
для деталей с фланцем S' = S √D/DФ
где S', S - толщина края детали и заготовки, мм;
D, d - диаметр заготовки и вытяжки, мм;
DФ - диаметр фланца, мм.
Более показательно исследование изменения координатной сетки в логарифмических деформациях1.
Удлинение в радиальном направлении:
, где r0 - начальный радиус сетки на заготовке;
r - конечный радиус той же сетки после вытяжки.
Сжатие (укорочение) в тангенциальном направлении:
, где d0 - начальный, a d - конечный диаметр сетки.
Изменение толщины материала:
При этом вследствие постоянства объема металла существуют зависимости (с учетом знаков деформаций):
или r/r0 ∙ d/d0 ∙ S/S0 = 1

Рис. 83. Деформации при цилиндрической вытяжке
На рис. 83 приведены кривые изменения логарифмических деформаций (εr, εt и εS ) разных точках вытянутого цилиндрического изделия А, В, С, D. Эти кривые показывают, что на участке донного закругления и несколько выше, где происходит утонение материала.
Таблица 29. Особые способы вытяжки
| Способ вытяжки | Схема вытяжки | Обозначение | Область применения |
| Вытяжка без заготовки | ![]() | 1- вытяжной пуансон; 2 - вытяжная матрица; 3 - заготовка | Неглубокая вытяжка из тонкого материала и глубокая при сравнительно большей толщине материала. Для первой вытяжки при S = (0,01/0,03) D и d1 =(0,60 /0,80) d1. Для второй вытяжки при S = (0,01/0,03) D и d2 = (0,78 /0,90) d1. Большему значению S соответствует меньшее значение |
| Вытяжка с прижимом заготовки | ![]() | 1 - вытяжной пуансон; 2 - прижим (складкодер жатель); 3 - вытяжная матрица | Глубокая вытяжка из сравнительно тонкого материала. Для первой вытяжки при S = (0,001/0,020) D и d1 = (0,45/0,6) D. Для второй вытяжки при S = (0,001 / 0,02) D и d2 = (0,70/0,8) d1Примечание. Для прессов простого действия применяется обратное расположение рабочих частей штампа |
| Обратная вытяжка (с выворачиванием) | ![]() | 1 - вытяжной пуансон; 2 - пуансон-матрица; 3 - вытяжная матрица; 4 - выталкиватель | Сдвоенная вытяжка, а также вытяжка двустенных полых деталей |
| Вырубка и вытяжка комбинированными штампами | ![]() | 1 - вытяжной пуансон; 2- вырубная матрица; 3 - вытяжная матрица; 4 - вырубной пуансон; 5 - пуансон-матрица; 6 - прижим; 7 - выбрасыватель | Изготовление полых деталей небольших и средних размеров на прессах простого и двойного действия |
| Многопозиционная вытяжка в ленте | ![]() | 1 - вырубной пуансон; 2 - вытяжные пуансоны; 3 - матрица; 4 - выталкива тель; 5 - прижим | Изготовление небольших деталей (d < 100 мм) типа колпачков, крышек, пустотелых заклепок и т.п. В случае глубоких вытяжек применяется надрезка ленты, а для мелких- штамповка в целой ленте |
| Вытяжка с утонением (протяжка) | ![]() | 1 - протяжной пуансон; 2 - протяжное кольцо (матрица); 3 - фиксатор | Изготовление весьма глубоких изделий (гильз, сильфонов, стаканов и т.п.) с неодинаковой толщиной стенок и дна S = (0,2 /0,05) S0. Рекомендуется применение одновременной вытяжки через несколько дней |
| Комбинированная вытяжка | ![]() | - | Изготовление небольших деталей при одновременном уменьшении диаметра и толщины стенки |
Таблица 30. Особые способы вытяжки
| Способ вытяжки | Схема вытяжки | Обозначение | Область применения |
| Вытяжка эластичным пуансоном | ![]() | 1 - матрица; 2 - эластичный пуансон; 3 - обойма | Серийное и мелкосерийное производство полых деталей из тонкого пластического металла (алюминий, алюминиевые сплавы, нержавеющая сталь) толщиной до 1 - 1,5 мм |
| Вытяжка эластичной матрицей | ![]() | 1 - пуансон; 2 - эластичная матрица; 3 - обойма; 4 - прижим; 5 - буферные штифты | При высоком давлении резины или полиуретана глубокая вытяжка из любого материала |
| Гидравлическая и резиногидравлическая вытяжка | ![]() | а - штамповка на гидравлическом прессе; б - штамповка без пресса: 1 - пуансон; 2 - обойма; 3 - резиновая диафрагма; 4 - резиновой чехол; 5 - жидкость | Серийное и мелкосерийное производство полых деталей сложной формы из тонкого листового металла (алюминий, алюминиевые сплавы, нержавеющая сталь) |
| Вытяжка на листоштамповочных молотах со складкообразованием | ![]() | 1 - пуансон; 2- матрица; 3 - прижим | Мелкосерийное изготовление цилиндрических, конических и коробчатых деталей из алюминиевых сплавов |
| Вытяжка свинцовой матрицей | ![]() | 1 - матрица; 2 - свинцовая подушка; 3 - контейнер | Серийное и мелкосерийное производство небольших деталей конической, полусферической и криволинейной формы |
| Вытяжка-обтяжка на гидравлических прессах | ![]() | 1 - обтяжной шаблон; 2 - зажимы; 3 - плунжер пресса | Вытяжка-формовка путем обтяжки тонкого листового материала (алюминий, дуралюмин, магниевые сплавы, нержавеющая сталь, углеродистая сталь) по металлическим или деревянным пуансонам (шаблонам) в мелкосерийном производстве при изготовлении крупных деталей несложной конфигурации |
| Вытяжка-формовка давлением взрыва | ![]() | 1 - контейнер; 2 - заряд ВВ; 3 - заготовка; 4 - штамп (форма) | Вытяжка-формовка крупногабаритных деталей типа днищ, полусфер, оболочек и т.п., изготовляемых малыми сериями. Весьма эффективна штамповка труднодефор-мируемых высокопрочных сплавов |
| Вытяжка-формовка электрогидравлическим разрядом | ![]() | 1 - обойма; 2 - форма; 3 - электроды; 4 - заготовка; 5 - подставка | Формовка оболочек, трубчатых и рельефных деталей в мелкосерийном производстве |
| Магнитноимпульсная формовка | ![]() | 1 - форма; 2 - заготовка; 3 - индуктор (соленоид); 4 - изделие | Формовка неглубоких деталей, обжимка и раздача трубчатых заготовок и т.п. |
Деформация радиального удлинения превышает деформации тангенциального сжатия, На участке, где происходит утолщение материала, деформации тангенциального сжатия (укорочения) превышают по величине деформации радиального удлинения.
Как видно из рис. 83, деформация при вытяжке в действительности является объемной, а не плоской, как зачастую принимается при анализе процесса вытяжки.
В табл. 29 приведены основные, наиболее распространенные способы вытяжки и показана область их применения. Указанные способы применяются при вытяжке их из заготовок и в ленте, для изготовления полых деталей различной формы: цилиндрической, конической, сферической, прямоугольной и сложной.
В табл. 30 приведены специальные (особые) способы вытяжки, более подробное описание которых дается ниже.

















